Quicklinks
Trend zum kompakten Design
In der Antriebstechnik, aber auch bei vielen anderen Anwendungen, gibt es einen klaren Trend zu kompakteren Bauweisen. Die Anforderungen an elektrische Antriebe sind hoch. Sie müssen eine hohe Leistungsdichte aufweisen, verschiedene elektronische Komponenten kombinieren und "intelligent" sein. Doch die immer kompaktere Anordnung von Bauteilen , kann sich negativ auf die Temperatur im Inneren der Anwendung auswirken. In einem Robotergelenk zum Beispiel sind viele Komponenten - Leistungselektronik, Antrieb, Getriebe, Sensorik und Bremsen - auf kleinem Raum integriert. Dies erfordert eine angemessene Wärmereduzierung. Kompakte Steuerungsmodule für elektromagnetische Bremsen sind eine sehr praktische und nachhaltige Lösung. Sie senken den Haltestrom, reduzieren die benötigte Energie und damit auch die Wärmeentwicklung.
Kritischer Temperaturhaushalt in kompakten Bauräumen
Elektromagnetische, bei Ruhestrom gelüftete Bremsen sind ideale Sicherheitsbremsen, wenn bewegte Massen oder Lasten im Stillstand gehalten werden müssen. Sollte es zu einem Stromausfall oder zu einem Versagen der Energieversorgung – z.B. durch einen Leitungsbruch – kommen, wird das System sicher gestoppt, sodass weder Menschen noch Investitionsgüter zu Schaden kommen. Prinzipiell basieren die Funktionsweise und die Eigenschaften der Sicherheitsbremsen dabei auf einfachen physikalischen Zusammenhängen: Im energielosen Zustand ist die Bremse geschlossen, da bei unbestromter Spule durch die Kraftwirkung einer Feder oder eines Permanentmagneten der Anker gegen die Reibscheibe gedrückt wird, wodurch die Bremswirkung erzeugt wird. Fließt hingegen Strom durch die Spule, baut sich ein Magnetfeld auf, das die Ankerscheibe anzieht und so den Rotor freigibt. Die Bremse lüftet. Das heißt im Umkehrschluss aber auch, dass die elektromagnetische Bremse Energie verbraucht und somit Wärme erzeugt, solange nicht gebremst wird. Diese Wärmeentwicklung ist immer dann kritisch, wenn die Leistungsdichte im Vordergrund steht oder temperaturempfindliche Elektronik im Antrieb integriert werden soll. Je kompakter der Bauraum ist, desto mehr verschärft sich diese Problematik. Daher sollten die Komponenten im Antrieb möglichst wenig Wärme erzeugen.
Weniger Wärme, mehr Leistung und deutlich schnellere Schaltzeit
Auf diese herausfordernden Anforderungen haben wir bei Kendrion reagiert, indem wir speziell für elektromagnetische Aktoren die Ansteuermodule der „Slim Collection“, die aus einem zeitgesteuerten Gleichrichter mit elektronischer Schnellabschaltung bestehen, entwickelt und zur Serienreife gebracht haben. Sie werden als PWM-Modul für Servomotoren sowie als Übererregungs-, Brücken- oder Einweggleichrichter für Asynchronmotoren angeboten und eignen sich für Bremsen bis ca. 225 W Halte- bzw. 450 W Schaltleistung. In der Startphase gibt das Modul in der sogenannten Übererregungsphase zeitlich begrenzt über einen Brückengleichrichter eine hohe Ausgangsspannung aus. Das heißt, dass die Bremse schnell und kraftvoll lüftet. Außerdem kann beim Einschalten zeitbegrenzt die volle Schaltspannung zur Verfügung gestellt werden, was die Öffnungszeit verkürzt. Danach schaltet die Elektronik microcontroller-gesteuert auf einen variablen Wert herunter. Diese Absenkung der Haltespannung durch die neuen Ansteuermodule führt zu einer Energieeinsparung von bis zu 75% im Normalbetrieb des Motors. Dementsprechend wird der Wärmehaushalt des gesamten Antriebs durch das innovative Verfahren dieser Aktoren deutlich entspannt.
Beim Abschalten oder Ausfall der Eingangsspannung wird durch einen integrierten Spannungssensor initiiert, dass die elektronische Ausgangsspannung gleichstromseitig abgeschaltet wird. Die elektromagnetische Bremse schaltet dadurch schneller, fällt ein und kann mit reduziertem Nachlaufweg die Applikation sicher zum Stillstand bringen. Gleichzeitig werden hohe Abschaltspannungen, die durch induktive Lasten entstehen, im Modul auf zulässige Werte begrenzt.
Für Anwendungen, in denen Gleichspannung für die elektromagnetische Bremse ohnehin zur Verfügung steht, gibt es den Steuerbaustein als PWM-Modul. In der Robotik lässt sich damit ebenfalls das Schaltverhalten der Bremsen optimieren, die Eigenerwärmung minimieren und dadurch die Lebensdauer erhöhen sowie Energiekosten einsparen.
Um beim PWM-Modul ein sauberes Signal im Dauerbetrieb zu erhalten, ist eine Freilaufdiode über der elektromagnetischen Bremse notwendig. Beim Abschalten der Stromzufuhr wird auf einen Varistor umgeschaltet. Dies ermöglicht im Vergleich zu konventionellen Lösungen deutlich schnellere Schließzeiten.
Einzigartige, innovative Fertigungstechnologie spart Arbeitszeit beim Installieren
Hinzu kommen weitere Eigenschaften, die dem Anwender einen Mehrwert liefern. Denn unsere Ansteuermodule beanspruchen deutlich weniger Platz als alle anderen Lösungen, die momentan am Markt vorhanden sind. Dafür gibt es gleich mehrere Gründe: So verwenden wir ausschließlich modernste, hochintegrierte Mikroelektronik- und Leistungsbauteile, also kleine SMD-Bauteile, die sich automatisiert bestücken lassen. Letzteres gilt sogar für die Anschlussklemme. Somit können wir alle Bauteile mit dem Reflow-Verfahren löten, was den gesamten Produktionsprozess deutlich optimiert und verkürzt. Deshalb können wir auch kleine Losgrößen zu geringen Kosten für unsere Kunden produzieren.
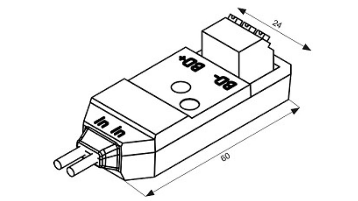
Die komplette Elektronik des Ansteuermoduls ist somit auf einer Leiterplatte untergebracht, die anschließend im Niederdruckverfahren mit bis zu 150 °C temperaturbeständigem Kunststoff umspritzt wird. Dieses aus der Steckertechnologie bekannte Hot-Melt-Verfahren lässt sich dank der Verfügbarkeit hochtemperaturfester Kunststoffe nun auch für die Leistungselektronik nutzen. Der Kunststoff sorgt für gute Wärmeableitung und schützt die Bauteile gegen Vibration, Schock und widrige Umgebungsbedingungen. Ein zusätzliches Gehäuse ist bei der „Slim Collection“ daher nicht notwendig, was sich ebenfalls bei den Kosten, beim Platzbedarf und auch beim Installationsaufwand positiv bemerkbar macht: Das lediglich 60 x 24 x 13 mm kleine Modul findet somit antriebsnah oder im Klemmenkasten kleiner und mittlerer Motoren problemlos Platz und wird mit nur einer zentralen Schraube befestigt. Die Drähte des Versorgungskabels werden mit den entsprechenden Motorklemmen verbunden. Der Anschluss der elektromagnetischen Bremse am Modul wird durch die Schneidklemmvorrichtung erleichtert. Die Zuleitung der Bremse kann dabei werkzeuglos befestigt werden, weshalb ein Anschrauben nicht mehr erforderlich ist. Darüber hinaus bietet die innovative Fertigungstechnologie noch einen weiteren Vorteil: Kundenspezifische Bauformen sind dank geringer Werkzeugkosten auch für kleine Stückzahlen problemlos umsetzbar.
Wir sind der erste Anbieter, der diese Fertigungstechnologien für Ansteuermodule einsetzt. Welche Vorteile sich dadurch für unsere Kunden ergeben, lässt sich mit wenigen Worten auf den Punkt bringen: kompakte Bauform, hohe Leistungsdichte, einfache Montage, günstiger Preis und Energieeinsparung bis zu 75%!
Haben Sie eine Anwendung, bei der viele wärmeerzeugende Komponenten kombiniert werden müssen? Kontaktieren Sie uns gerne, wir freuen uns darauf, gemeinsam mit Ihnen Ihre perfekte Steuermodullösung zu finden!
In unserem Tutorial können Sie in einfachen Worten nochmals alle Vorteile des Ansteuermoduls erfahren.





